Одноступенчатые червячные мотор-редукторы STM (СТМ) серии UMI 40, UMI 50, UMI 63, UMI 75, UMI 90, UMI 110: характеристики, устройство, принцип работы, цена

Одноступенчатые червячные мотор-редукторы STM (СТМ) серии UMI 40, UMI 50, UMI 63, UMI 75, UMI 90, UMI 110

Червячные одноступенчатые мотор-редукторы серии UMI (STM) имеют кубическую форму. В производстве редукторов применяются только высококачественные материалы произведенные в Италии. Редукторы имеют компактные размеры, что позволяет использовать их в ограниченном пространстве. Главными достоинствами серии UMI являются: высокий КПД, бесшумная работа и низкая стоимость. Серия состоит из шести типоразмеров, каждая из которых имеет рад передаточных чисел в диапазоне 7-100. Подводимая мощность от 0,06 до 7,5 кВт при этом момент достигает 650 Нм. Редукторы широко применяются в конвейерах, транспортерах, мешалках, лебедках и т.д. Червячные редукторы поставляются заправленные синтетическим маслом вязкостью 320 согласно ISO.

Передаточные отношения 7 - 100

Обороты тихоходного вала 7 - 470 об/мин

Крутящий момент 26 - 650 Нм

Мощность электродвигателя 0,06 - 7,5 кВт

Серия имеет следующие типоразмеры:
UMI 40, UMI 50, UMI 63, UMI 75, UMI 90, UMI 110

Одноступенчатые червячные мотор-редукторы STM (СТМ) серии UMI

Система обозначения червячных мотор-редукторов серии UMI

UMI
90
– 20
– 70
– 1,5
– M1
1
2
3
4
5
6

1 – Cерия редуктора (UMII )

2 – Межосевое расстояние, мм (40, 50, 63, 75, 90, 110)

3 – Номинальное передаточное отношение редуктора

4 – Число оборотов выходного вала , об/мин

5 – Мощность электродвигателя , кВт

6 – Монтажное положение (M1, M2, M3, M4, M5, M6)

Типоразмер
M max, Нм

D - выходного вала,

мм

UMI 40
43
18
UMI 50
81
25
UMI 63
145
25
UMI 75
255
28
UMI 90
414
35
UMI 110
638
42

Габаритные и присоединительные размеры

Реактивная штанга, выходной вал - размеры

Монтажные положения и количество масла, заливаемого в мотор-редукторы UMI

Вес червячных редукторов серии UMI, кг

Выходные обороты и мощность электродвигателей (кВт)

 

Габаритные и присоединительные размеры UMI

UMI

A

В

С

C1

D(H7)

E(h8)

F

G

H

H1

I

L1

M

N

O

P

Q

R

40

100

121.5

70

60

18

60

43

71

75

36.5

70

78

50

71.5

40

87

55

6.5

50

120

144

80

70

25

70

49

85

85

43.5

80

92

60

84

50

100

64

8.5

63

144

174

100

85

25

80

67

103

95

53

95

112

72

102

63

110

80

8.5

75

172

205

120

90

28

95

72

112

115

57

112.5

120

86

119

75

140

93

11

90

206

238

140

100

35

110

74

130

130

67

129.5

140

103

135

90

160

102

13

110

252.5

295

170

115

42

130

-

144

165

74

160

155

127.5

167.5

110

200

125

14

 

UMI

S

T

V

PA

PB

PC

PE

PM

PN(H8)

PO

PP

PQ

b

t

a

a1

kg

40

26

6.5

35

67

7

4

M6x8(n=4)

75

60

9(n=4)

110

95

6

20.8(21.8)

45°

45°

2.3

50

30

7

40

90

9

5

M8x10(n=4)

85

70

11(n=4)

125

110

8

28.3(27.3)

45°

45°

3.5

63

36

8

50

82

10

6

M8x14(n=8)

150

115

11(n=4)

180

142

8

28.3(31.3)

45°

45°

6.2

75

40

10

60

111

13

6

M8x14(n=8)

165

130

14(n=4)

200

170

8

31.3(38.3)

45°

45°

9

90

45

11

70

111

13

6

M10x18(n=8)

175

152

14(n=4)

210

200

10

38.3(41.3)

45°

45°

13

110

50

14

85

131

15

6

M10x18(n=8)

230

170

14(n=8)

280

260

12

45.3

45°

45°

35

Назад

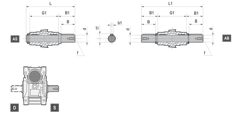
Реактивная штанга, выходной вал

Размеры выходного вала

UMI
040
050
063
075
090
110
d
18 h6
25 h6
25 h6
28 h6
35 h6
42 h6
B
40
50
50
60
80
80
B1
43
53,5
53,5
63,5
84,5
84,5
G1
78
92
112
120
140
155
L
128
153
173
192
234
249
L1
164
199
219
247
309
324
f
M6
M10
M10
M10
M12
M16
b1
6
8
8
8
10
12
t1
20,5
28
28
31
38
45
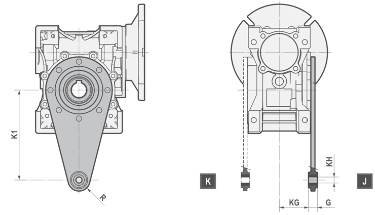
UMI
040
050
063
075
090
110
K1
100
100
150
200
200
250
G
14
14
14
25
25
30
KG
31,5
38,5
49
47,5
57,5
62
KH
10
10
10
20
20
25
R
18
18
18
30
30
35

Назад

Монтажные положения и количество масла, заливаемого в мотор-редукторы UMI

Монтажные положения и количество масла, заливаемого в мотор-редукторы UMI

 

Положение клемной коробки эл.двигателя

Положение клемной коробки эл.двигателя

Назад

Вес червячных редукторов серии UMI, кг

UMI 40
2,3
UMI 50
3,5
UMI 63
6,2
UMI 75
9
UMI 90
13
UMI 110
35

 

 

 
© 2014 Редукторы, мотор-редукторы, устройства плавного пуска, преобразователи частоты